
押注QDII!超级牛散曝光!但斌“梭哈”纳斯达克100ETF
来源: 证券时报网 作者: 券商中国 裴利瑞 发布时间:2024-09-04
近期,公募基金2024年半年报披露完毕,各大基金的持有人情况陆续曝光。
值得一提的是,券商中国记者发现,一位超级牛散新进出现在9只QDII基金的前十大持有人中,产品涵盖了标普医疗、标普消费、标普石油天然气、德国DAX、法国CAC40、美元债、REIT指数等众多种类的基金,被投资者称为“资产配置大神”。
今年以来,海外市场热点纷呈,众多QDII基金业绩喜人,也吸引了牛散、私募大佬,甚至地方国资的买入。除了上述超级牛散外,但斌执掌的东方港湾大举买入了华夏、广发、华安、招商、博时、国泰、华泰柏瑞等7家公司旗下的纳斯达克100ETF,地方国资常州投资集团有限公司则成为易方达纳斯达克100ETF联接的第一大持有人。
超级牛散曝光
在今年公募基金半年报中,一位名为祝杰的超级牛散像一匹黑马,用3377万元出现在9只QDII基金的前十大持有人,而在此之前,该名字从未出现在任何一只基金的前十大持有人名单中。
比如,南方东英银河联昌富时亚太低碳精选ETF(QDII)的半年报显示,祝杰为该基金的第二大持有人,持有该基金510.22万份,占上市总份额5.62%,换算下来约624.51万元。Wind数据显示,截至9月3日,南方东英银河联昌富时亚太低碳精选ETF(QDII)今年以来的涨幅高达12.89%,这意味着如果祝杰是在年初买入这只基金并持有到现在,已经赚取了约70万元。

再比如,易方达标普医疗保健指数(QDII-LOF)的半年报显示,祝杰为该基金的第一大持有人,持有该基金约201.98万份,占上市总份额6.62%,换算下来约378.93万元。同时,华宝标普美国品质消费股票(QDII-LOF)的半年报显示,祝杰为该基金的第二大持有人,持有该基金约99.26万份,占上市总份额4.05%,换算下来接近240.11万元。

此外,祝杰还是华安法国CAC40 ETF(QDII)的第七大持有人、嘉实德国DAX ETF(QDII)的第三大持有人、南方道琼斯美国精选REIT指数(QDII-LOF)的第二大持有人、富国标普石油天然气勘探及生产精选ETF(QDII)的第五大持有人、嘉实标普石油天然气勘探及生产精选ETF(QDII)的第九大持有人、海富通美元债(QDII)的第九大持有人,持有上述基金分别约695.93万元、614.01万元、277万元、193.35万元、159.62万元、193.98万元。
整体来看,截至9月3日,祝杰重仓的9只QDII基金在今年全部收益为正,其中既有上涨了12.89%的南方东英银河联昌富时亚太低碳精选ETF(QDII),也有上涨了9.41%的易方达标普医疗保健指数(QDII-LOF),上涨了9.42%的南方道琼斯美国精选REIT指数(QDII-LOF),即使是表现最差的产品也有超1%的涨幅。
但斌“梭哈”纳斯达克100ETF
除了上述超级牛散外,私募大佬但斌也在今年上半年重仓QDII基金。
券商中国记者梳理发现,但斌旗下的东方港湾在今年上半年几乎买遍了市场上的纳斯达克100ETF,包括华夏纳斯达克100ETF、广发纳斯达克100ETF、华安纳斯达克100ETF、招商纳斯达克100ETF、博时纳斯达克100ETF、国泰纳斯达克100ETF、华泰柏瑞纳斯达克100ETF等7只产品,
Wind数据显示,截至 9月3日,上述7只纳斯达克100ETF普遍在场内有超13%的涨幅,是今年基金市场表现较为亮眼的产品。
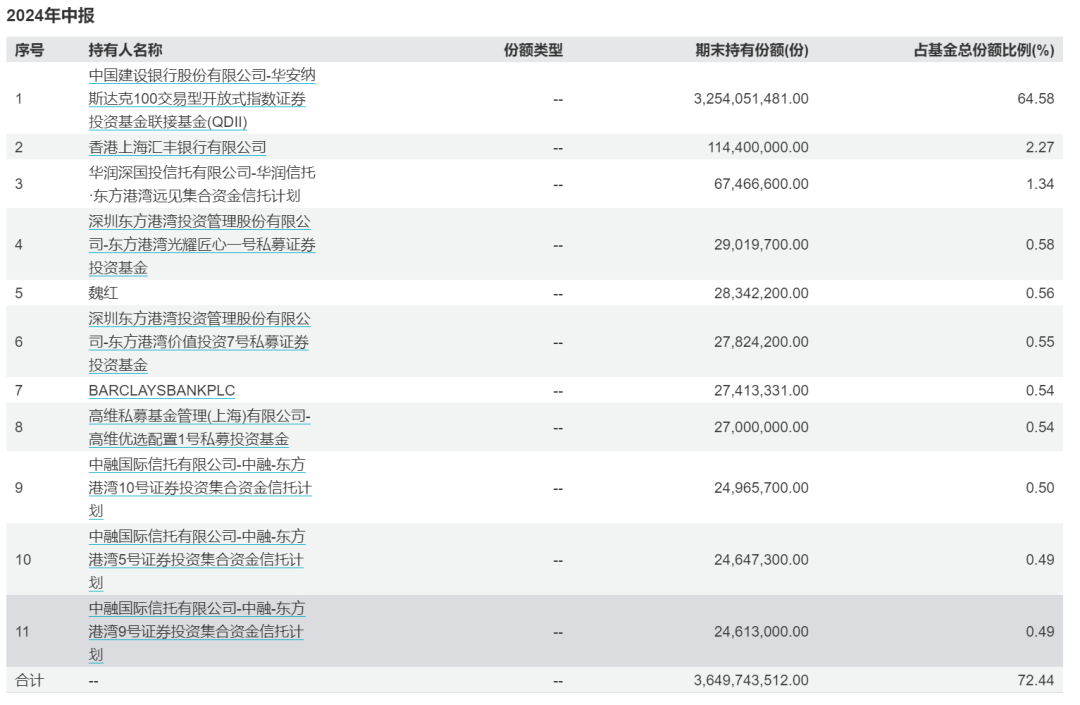
比如,在华安纳斯达克100ETF6月底的前十大持有人中,有6只东方港湾旗下产品,包括华润信托·东方港湾远见集合资金信托计划、东方港湾光耀匠心一号私募证券投资基金、东方港湾价值投资7号私募证券投资基金、东方港湾10号证券投资集合资金信托计划、东方港湾5号证券投资集合资金信托计划、东方港湾9号证券投资集合资金信托计划,分列第三,第四,第六,第九,第十,第十(并列),合计持有份额1.99亿份,持有规模3.22亿元。

而除了上述纳斯达克100ETF外,但斌旗下4只产品还成为景顺长城纳斯达克科技市值加权ETF的前十大持有人,包括:东方港湾远见集合资金信托计划、东方港湾方远集合私募证券投资基金、东方港湾光耀匠心一号私募证券投资基金、东方港湾价值投资7号私募证券投资基金,他们分别位列该产品第三,第四,第七,第十大持有人,持有份额高达2.15亿份,规模达3.08亿元。
Wind数据显示,截至9月3日,景顺长城纳斯达克科技市值加权ETF今年以来的场内涨幅高达45.56%,是今年涨幅最高的ETF基金。
全球资产配置还吸引私募大佬、地方国资
全球资产配置的浪潮不仅吸引了牛散、私募大佬,甚至还吸引了地方国资。
比如,在易方达纳斯达克100ETF联接人民币前十大持有人中,地方国资——常州投资集团有限公司作为第一大持有人,在一众个人投资者中显得相当醒目,该公司持有易方达纳斯达克100ETF联接人民币的份额为337.07万份,持有市值为1081.98万元。
从过往的情况看,常州投资集团有限公司早在2020年6月末就已通过场内买入的方式布局易方达纳斯达克100ETF联接基金,根据易方达基金2020年发布的报告显示,常州投资集团有限公司当时持有份额比例占上市总份额比例为1.85%,之后便一直持有该基金份额。
今年以来,全球宏观局势变幻莫测,市场不确定性陡然增加,多位有“专业买手”之称的FOF基金经理也建议投资者应该通过多元资产、分散配置降低波动,全球资产配置正当时。
比如,易方达优选多资产三个月持有混合(FOF)的基金经理张浩然、黄亦磊在半年报中表示,该基金在对于全球进入降息周期及全球制造业复苏的认知下,开始逐步增加全球资产配置。从半年报持仓来看,该FOF基金持有广发纳指100ETF、博时标普500ETF等QDII产品。
华安优享稳健养老目标一年持有混合(FOF)的基金经理杨志远、袁冠群也在半年报中表示,该基金的权益资产配置中采用了全球资产配置,增加了美股和港股的配置,A股的配置结构均衡偏大盘价值,行业上对科技阶段超配,对消费和新能源等行业低配,商品配置主要是配置了黄金。从半年报持仓来看,该FOF基金持有富国全球债券(QDII)人民币A、景顺长城沪港深精选股票A、南方亚洲美元收益债券(QDII)C、华安纳斯达克100ETF(QDII)等。
责任编辑:《每日财讯网》编辑
上一篇:长期资金加大A股配置力度 社保险资持股数量皆增长 青睐重资产行业
下一篇:没有了!

〖免责申明〗本文仅代表作者个人观点,其图片及内容版权仅归原所有者所有。如对该内容主张权益请来函或邮件告之,本网将迅速采取措施,否则与之相关的纠纷本网不承担任何责任。